海天精工机床有限公司 海天精工博客

加工中心的主轴部件

加工中心的主轴部件 主轴部件精度 加工中心主轴部件由主轴动力、传动及主轴组件组成,它是加工中心成型运动的重要执行部件之一,因此要求加工中心的主轴部件具有高的运转精度、长久的精度保持性以及长时间运行的精度稳定性。 加工中心通常作为精密机床使用,

加工中心的主轴部件

主轴部件精度
    加工中心主轴部件由主轴动力、传动及主轴组件组成,它是加工中心成型运动的重要执行部件之一,因此要求加工中心的主轴部件具有高的运转精度、长久的精度保持性以及长时间运行的精度稳定性。
    加工中心通常作为精密机床使用,主轴部件的运转精度决定了机床加工精度的高低.考核机床的运转精度一般有动态检验和静态检验两种方法。静态检验是指在低速或手动转动主轴情况下,检验主轴部件各个定位面及工作表面的跳动量.动态检验则需使用一定的仪器在机床主轴额定转速下.采用非接触的检测方法检验主轴的回转精度。由于加工中心通常具有自动换刀功能,刀具通过专用刀柄由安装在加工中心主轴内部的拉紧机构紧固.因此主轴的回转精度要考虑由于刀柄定位面的加工误差所引起的误差。
    加工中心主轴轴承通常使用C级轴承,在二支承主轴部件中多采用4-1、2-2组合使用,即前支承和后支承分别用四个向心推力轴承和一个向心球轴承,或前、后支承都使用两个向心推力轴承组成主轴部件的支承体系.对于轻型高精度加工中心,也有前、后支承各使用一个向心推力轴承组成主轴部件的支承体系,该种结构适宜高精度、高速主轴部件的场合.简单的主轴轴承组合,可以大大降低主轴部件的装配误差和热传导引起的主轴隙丧失,但主轴的承载能力会有较大幅度的下降.
2 主轴部件结构
    主轴部件主要由主轴、轴承、传动件、密封件和刀具自动卡紧机构等组成。
    ⑴ 主轴
    主轴前端有7:24的锥孔.用于装夹BT40刀柄或刀杆.主轴端面有一端面键.既可通过它传递刀具的扭矩,又可用于刀具的周向定位.主轴的主要尺寸参数包括:主轴的直径、内孔直径、悬伸长度和支承跨距。评价和考虑主轴主要尺寸参数的依据是主轴的刚度、结构上艺性和主轴组件的工艺适用范围.主轴材料的选择主要根据刚度、载荷特点、耐磨性和热处理变形大小等因素确定。主轴材料常采用的有45 钢、Gcr15 等,需经渗氮和感应加热悴火.                        加工中心的主轴支承形式很多,其中立式加工中心的主轴前支承采用四个向心推力球轴承,后支承采用一个向心球轴承,这种支承结构使主轴的承载能力较高,且能适应高速的要求,主轴支承前端定位,主轴受热向后伸长,能较好地满足精度需要,只是支承结构较为复杂。  
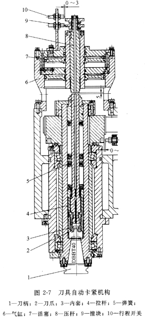
    ⑵ 刀具自动卡紧机构  
    加工中心可以白动换刀,所以,主轴系统应具备自动松开和夹紧刀具的功能。刀具的自动夹紧机构安装在主轴的内部,图2一7所示为刀具的夹紧状态.刀柄1由主轴抓刀爪2 央持,碟形弹簧5通过拉杆4、抓刀爪 2 ,在内套 3的作用下将刀栖的拉钉拉紧,当换刀时,要求松开刀柄.此时将主轴上端气缸的上腔通压缩空气,活塞7带动压杆8及拉4向下移动.同时压缩碟形弹簧5,当拉杆4下移到使抓刀爪2的下端移出内套3时.卡爪张开.同时拉杆4将刀柄顶松,刀其即可由机械手或刀库拔出。待新刀装入后,气缸6的下腔通压缩空气.在碟形弹簧的作用下.活塞带动抓刀爪上移.抓刀爪拉杆贯新进人内套3 ,将刀柄拉紧。活塞7移动的两个极限位置分别设有行程开关10,作为刀具夹紧和松开的信号.               

    刀杆尾部的拉紧机构,除上述的卡爪式外,常见的还有钢球拉紧机构,其内部结构如图2一8所示。

Tags: 主轴

发布: admin 分类: 海天车床 评论: 0 浏览: 22
留言列表
发表留言
◎欢迎参与讨论,请在这里发表您的看法、交流您的观点。